Das Elektor-Forum schließt seine Pforten (siehe auch
http://www.elektormagazine.de/forum). Ab Freitag, den 01. März, ist es nicht mehr möglich, sich im Forum einzuloggen. Alle Inhalte des Forums bleiben jedoch bis Ende März noch sichtbar. Am 01. April wird das Forum schließlich komplett geschlossen.
ATMega-Controller in BASIC programmieren
by wassertablette » Tue Jan 20, 2009 12:00 am
Hallo ich möchte eine 3x4 Matrix Tastatur auswerten kann mir jemand weiter helfen.
-
wassertablette
-
- Posts: 2
- Joined: Fri Jan 03, 2014 1:52 pm
by burkhard kainka » Fri Jan 23, 2009 12:00 am
Das Zauberwort heißt: GETKBD
In der Bascom-Hilfe steht dazu ein Schaltbild und ein Beispiellisting.
-
burkhard kainka
-
- Posts: 736
- Joined: Thu Jan 02, 2014 10:41 am
by wassertablette » Sun Jan 25, 2009 12:00 am
Ja das weiß ich ich komme mit dem Zauberwort und mit Tastaturanschluß nicht zu recht. Ich weiß nicht wie die Tastatur angeschlosen wird mit diesem Befehl.
aber Danke
-
wassertablette
-
- Posts: 2
- Joined: Fri Jan 03, 2014 1:52 pm
by burkhard kainka » Mon Jan 26, 2009 12:00 am
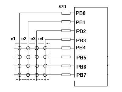
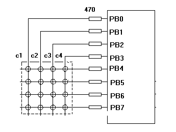
An dne Kreuzungspunkten liegen die Tasten:

'
- Attachments
-

-
burkhard kainka
-
- Posts: 736
- Joined: Thu Jan 02, 2014 10:41 am
Return to BASCOM-AVR-Kurs
Who is online
Users browsing this forum: No registered users and 1 guest